1950 Die hydraulische Energie und die Entwicklung der hydraulischen Maschinen - Mühlenkalender

Direkt zum Seiteninhalt

Hauptmenü:

1950 Die hydraulische Energie und die Entwicklung der hydraulischen Maschinen

Mühlen-Wissen > Motor > Turbinen
Die hydraulische Energie und die Entwicklung der hydraulischen Maschinen
Die hydraulische Energie und die Entwicklung der hydraulischen Maschinen
Autor:  Prof. R. DUBS. ETH. Zürich 

Der folgende Artikel stammt aus der Zeitschrift: 
Schweizerische Bauzeitung , Band (Jahr): 68 (1950), Heft 27
Die hydraulische Energie und die Entwicklung der hydraulischen Maschinen
Von Prof. R. DUBS. ETH. Zürich 
 
Als Urquelle der hydraulischen Energie muss die uns von der Sonne zugestrahlte Wärmeenergie betrachtet weiden. Bei einer Oberflächentemperatur der Sonne von rd. 6000°C verliert die Sonne in der Sekunde rd. 4 Mio t an Masse, was einer Leistung von rd. 0,4 . 1024 kW entspricht. Da ja Wärme und Arbeit sowie Masse und Energie gleichwertig sind, so entspricht der Massenabnahme der Sonne eine Arbeit von rd. 3,5 . 1027 kWh oder 3,0 . 1030 kcal, welche Wärmemenge die Sonne Im Jahre in den Weltenraum hinaussendet. Von dieser gewaltigen Energiemenge trifft nur ein sehr kleiner Teil, d. h. rd. 0,2 . 1015 kW unseren Planetenraum, wobei bis zur Erdoberfläche wieder ein grosser Teil verloren geht. Man kann für die Erdoberfläche mit einer uns von der Sonne zugekommenen Leistung von rd. 60 . 1012 kW rechnen, was einer Jahresarbeit von rd. 500 . 1015 kWh oder einer Wärmemenge von rd. 400 . 1018 kcal entspricht. Dieser Energie verdanken wir das Leben auf unserer Erde. Die technische Verwertung der uns zugeflossenen Energie ist, wie man sich leicht überzeugen kann, eine verhältnismässig geringe.
Entsprechend meinem speziellen Fachgebiet will ich hier nur über die von der Sonne auf der Erde erzeugten Wasserkräfte sprechen. Im Gegensatz zu den sich nicht stetig erneuernden Energieträgern, wie z. B. Kohle und Oel, stehen uns die Wasserkräfte im ewigen Kreislauf zur Verfügung, und sie dürfen deshalb wohl zu den wertvollsten Energieträgern gerechnet werden, solange es noch nicht möglich ist, die durch die Kernspaltung erhaltene Nuklearenergie rationell in eine Form überzuführen, die zum Segen der Menschheit Verwendung finden kann.
Die Leistung der gesamten Flusswasserkräfte auf der Erde bei Niederwasser, d. h. bei kleinster Wasserführung, kann auf rd. 400 . 106 kW geschätzt werden, wobei ihre Verteilung über die Erde etwa die folgende ist:
Afrika                    160 . 106 kW (Kongo allein 100 . 106 kW)
Amerika              100 . 106 kW
Europa                 45 . 106 kW
Asien                    90 . 106 kW
Australien           5 . 106 kW
Von dieser totalen Leistung sind bis 1946 nur rd. 60 . 106 kW ausgenützt worden. Es entspricht dies einer Jahresarbeit von rd. 200 . 109 kWh bei einer Ausnützungsdauer von rd. 3500 h im Jahr, d. h. rd. 9,6 h im Tag. Wenn alle Wasserkräfte der Erde ausgenützt wären, so könnte bei einer Betriebszeit von 3500 h im Jahr eine Jahresarbeit von 1400 . 109 kWh gewonnen werden. Die Wasserkräfte der Erde sind somit bis 1946 nur zu rd. 15% ausgenützt worden. Ende 1948 betrug die Ausnützung rd. 285 . 109 kWh.
Als weitere hydraulische Energiequellen, die in den oben-genannten Zahlen nicht enthalten sind, können die Gezeiten (Ebbe und Flut) sowie der Wellenschlag an den Küsten betrachtet werden. Es bieten sich jedoch noch andere Möglichkeiten für die Ausnützung von hydraulischer Energie, wobei vorläufig mehr des wissenschaftlichen Interesses wegen, folgendes fast phantastisch anmutende Projekt des Kraftwerkes Gibraltar erwähnt werden soll. Im Mittelmeer verdunsten jährlich rd. 4000 km3 Wasser, von denen nur rd. 1000 km3 durch die ins Mittelmeer fliessenden Ströme ersetzt werden. Das Manko von rd. 3000 km3 wird durch den Zufluss aus dem Atlantischen Ozean durch die Meerenge von Gibraltar ersetzt. Würde man diesen Zufluss sperren, so würde der Wasserspiegel im Mittelmeer jährlich um rd. 1,6 m fallen. Wenn es möglich wäre, die Höhendifferenz zwischen dem Atlantischen Ozean und dem Mittelmeer auf 200 m fallen zu lassen, so erhielte man bei einem Zufluss von Q = 90‘000 m3/s eine Leistung im Kraftwerk Gibraltar von rd. 150 . 106 kW. (Zahlen aus: «Betrachtungen über die Welt-Energieerzeugung- von Prof. Robert Dürrer, Heft Nr. 51 der Kultur- und staatswissenschaftlichen Schriften der ETH, Erweiterung der am 23. Februar 1960 an der ETH gehaltenen Abschiedsvorlesung).
Wenn man den Kreis der Wasserkräfte enger zieht und nur die Schweiz betrachtet, so ist zu sagen, dass die Sonne heim höchsten Stand in 15 min so viel Energie auf unser Land strahlen lässt, als heute die Jahresproduktion aller unserer Kraftwerke, die etwas über 10 Mrd kWh beträgt, ausmacht. Durch einen weiteren Ausbau unserer Wasserkräfte liesse sich mit guter Wirtschaftlichkeit eine Jahresarbeit von 27 Mrd kWh erzeugen. Es dürfte zweifellos sein, dass gerade für die Schweiz, die als Energieträger nur diese «weisse Kohle' besitzt, die rationelle Ausnützung ihrer Wasserkräfte von grösster politischer und wirtschaftlicher Bedeutung ist. Von politischer Bedeutung, weil dadurch unsere Abhängigkeit vom Ausland wesentlich vermindert werden kann (man denke z. B. nur an den Bahnbetrieb) und von wirtschaftlicher Bedeutung, weil die elektrische Energie für uns ein wichtiger Exportartikel sein könnte, der vom Auslande begehrt ist.
 
*
 
In Form von Wasserrädern und Schöpfrädern waren hydraulische Maschinen schon mehr als 200 Jahre vor Christi Geburt in Asien bekannt. Nach Afrika (Ägypten) und Europa (Balkan, Italien und Spanien) gelangten diese Maschinen etwas später. Das Bedürfnis nach Bewässerung und damit Fruchtbarmachung von ebenen Gebieten war der Grund zur Schaffung von Einrichtungen (Zisternen mit Kübeln, Schöpfräder, Wasserschnecken usw.), mit deren Hilfe es möglich war, das Grundwasser auf die Erdoberfläche zu heben. Der Antrieb dieser Einrichtungen erfolgte vorerst durch menschliche Kraft (Seilzug, Treträder), die später durch die tierische Kraft (Ochse, Esel oder Pferd am Göppel) abgelöst wurde. Zu jener Zeit wurden auch Mühlen grundsätzlich in gleicher Weise angetrieben, wobei sich jedoch im Laufe der Generationen und mit der Entwicklung der Menschheit immer mehr das Bedürfnis ergab, die menschliche und tierische Kraft durch eine stärkere zu ersetzen. Ein solcher Ersatz scheint in Form der Ausnützung der Wasserkraft in Europa zur Zeit Julius Casars (100 bis 44 v. Chr.) zuerst gefunden worden zu sein, denn der folgende poetische Erguss eines gewissen Antipater (Zeitgenosse des Cicero, geb. 106 v. Chr., gest- 43 v. Chr.) kann doch wohl in diesem Sinne gedeutet werden:  
«Höret auf, euch zu bemühen, ihr Mädchen, die ihr in den Mühlen arbeitet,
jetzt schlaft und lasst die Vögel der Morgenröte entgegensingen ;
denn Ceres hat den Najaden befohlen, eure Arbeit zu verrichten :
diese gehorchen, werfen sich auf die Räder, treiben mächtig die Wellen und durch diese die schwere Mühle“.
Sicher ist, dass zur Zeit von Augustus (geb. 65 v. Chr., gest. 14 n. Chr.) schon Wasserräder zum Antrieb von Wasserhebeeinrichtungen benutzt wurden, wie sich aus Beschreibungen von Vitruv (unterschlächtiges Wasserrad) und Belisar (Schiffsmühle) ergibt. Um 380 n. Chr. findet man unter- und oberschlächtige Wasserräder in Frankreich, Deutschland und Böhmen, und zu jener Zeit dürften auch in der Schweiz die ersten Wasserräder zur Verwendung gekommen sein. Interessant ist (nachdem das Problem der Ausnützung der Gezeiten in unserer Zeit wieder aktuell geworden ist), dass schon um das Jahr 1044 in Venedig Wasserräder zur Ausnützung von Ebbe und Flut zur Anwendung kamen.
Die Konstruktion der ersten Wasserräder erfolgte rein handwerksmässig und oft auf Grund sehr primitiver Vorstellungen über die Wirkungsweise der dem Wasser innewohnenden Kräfte. Als wohl erste versuchten Leonardo da Vinci (1452 bis 1519) sowie Galileo Galilei (1564 bis 1612) und der französische Mathematiker Descartes (1569 bis 1650) konstruktive Verbesserungen zu finden, sowie eine Theorie für die Berechnung und Konstruktion der Wasserräder aufzustellen und Regeln für die Dimensionierung dieser Maschinen abzuleiten, ohne dass jedoch diese Bemühungen in der ausübenden Praxis irgendwelche Früchte trugen. Vom französischen Mathematiker Parent erschien 1704 eine Abhandlung über die günstigste Umfangsgeschwindigkeit eines Wasserrades, die jedoch auf unrichtigen Voraussetzungen beruhte, während Deparcieux im Jahre 1753 nachwies, dass - unter sonst gleichen Verhältnissen — ein oberschlächtiges Wasserrad besser sei als ein unterschlächtiges. Zu jener Zeit begann man auch schon mit der Durchführung von experimentellen Untersuchungen an ausgeführten Wasserrädern, wie die im Jahre 1759 von Smeaton und Bossut veröffentlichten Ergebnisse beweisen.
Eine richtige Theorie über die günstigste Umfangsgeschwindigkeit des Wasserrades wurde 1766 von Borda bekanntgegeben, während es bis 1825 dauerte, bis vom französischen Artilleriehauptmann Jean Victor Poncelet (1788 bis 1867) die Konsequenzen aus der Theorie gezogen und ein Wasserrad mit stetig gekrümmten Schaufeln vorgeschlagen und ausgeführt wurde. Das Poncelet-Wasserrad (Bild 1)
das die erste vollständig richtige Konstruktion darstellt, wurde dann in der Folge sehr viel, hauptsächlich in England, ausgeführt, und in den Jahren 1828 bis 1829 wurden von Morin umfangreiche Versuche mit diesem Wasserrad vorgenommen. Im Jahre 1846 erschien dann von Redtenbacher das erste zusammenfassende Werk «Ueber Theorie und Bau der Wasserräder», und es begann damit eine fruchtbare Periode der Entwicklung der Wasserräder, die auch durch die Veröffentlichungen von Weisbach eine Förderung erfuhren. Das neunzehnte Jahrhundert kann als das Jahrhundert der Entwicklung des Wasserrades zur Wasserturbine bezeichnet werden, wobei die Schweiz auf diese Entwicklung sehr starken Einfluss ausgeübt hat.
Wie bereits erwähnt, dürften die Wasserräder in der Schweiz zur gleichen Zeit wie in Deutschland und Frankreich (etwa 380 n. Chr.) bekannt geworden sein, wobei ihre Herstellung rein handwerksmässig erfolgte und die Räder zur Hauptsache zum Antrieb von Getreidemühlen und später auch von Walkmühlen (zum Walken von Stoffen) dienten. Das Bedürfnis zur Hebung von Wasser nur für Bewässerungszwecke war in der Schweiz infolge der Oberflächengestalt und des Klimas wie infolge der hydrologischen Verhältnisse kaum vorhanden, so dass die Wasserräder auf diesem Gebiet keine Anwendung fanden. Je nach den örtlichen Verhältnissen und den vorliegenden Bedürfnissen kamen unterschlächtige Wasserräder (Bild 2) für sehr kleine Gefälle, mittelschlächtige (Bild 3) für mittlere Gefälle oder oberschlächtige (Bild 4)
 für höhere Gefälle zur Verwendung, wobei jedoch das höchste ausgenützte Gefälle 15 m nicht überschritten haben dürfte. Für die Ausnützung von höheren Gefällen und grösseren Wassermengen, als dies mit einem Wasserrad möglich ist, war wohl das Bedürfnis kaum vorhanden, denn die Bevölkerungsdichte der damaligen Schweiz war noch so klein, dass die primitiven Einrichtungen zur Existenzsicherung der Bevölkerung vollständig genügten.
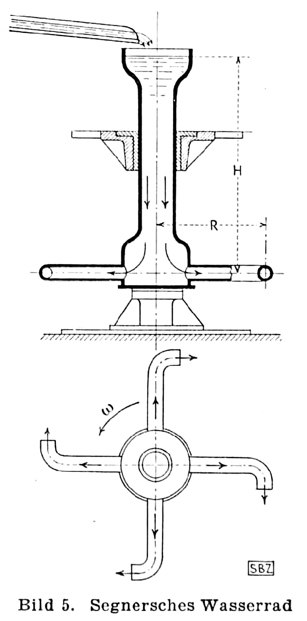
Den Anstoss zum Bau einer Wasserkraftmaschine, in der die dem Wasser innewohnende Energie in anderer Weise ausgenützt wird als mit einem Wasserrad, dürfte wohl der bekannte Basler Mathematiker Daniel Bernoulli (1700 bis 1782) gegeben haben, der im Jahre 1738 die erste richtige Theorie der Reaktions-Wirkung des aus einer Öffnung fliessenden Wasserstrahles bekanntgab. (Siehe «Hydrodynamica» von Daniel Bernoulli, erschienen bei Johannes Reinhold Dulsekker, .1738, Basel.) Die praktische Verwertung der von Bernoulli aufgestellten Theorie erfolgte wohl zuerst durch Segner in Göttingen, der im Jahie 1750 ein Wasserrad konstruierte  (Bild 5)
in dem die von Bernoulli formulierte Reaktionswirkung ausgenützt wurde. Das Segnersche Wasserrad veranlasste dann den grossen Basler Mathematiker Leonhard Euler (1707 bis 1783) zu drei grundlegenden Abhandlungen über die Theorie der hydraulischen Maschinen (erschienen 1750, 1751 und 1754, herausgegeben von der Berliner Akademie der Wissenschaften), von denen sich eine mit dem Titel „Recherches sur l’effet d'une machine hydraulique, proposée par Mr. Segner» insbesondere mit dem Segnerschen Wasserrad beschäftigt. L. Euler schlägt dabei eine Verbesserung der Konstruktion von Segner durch eine spezielle Lage und Richtung der Zuleitung des Betriebswassers zum Rade vor und ist damit zum Schöpfer des Leitapparates der heutigen Turbine geworden  (Bild 6)
ohne den die heutige gute Wirkungsweise der Wasserturbine undenkbar wäre. Die auf L. Euler zurückzuführende Turbinentheorie ist auch heute noch, in den weitaus meisten Fällen, die Grundlage der Berechnung der hydraulischen Maschinen.
Die von Bernoulli und Euler schon um die Mitte des 18. Jahrhunderts für die Berechnung der hydraulischen Maschinen geschaffenen theoretischen Grundlagen fanden jedoch zunächst keine praktische Anwendung, und die Berechnung und Konstruktion der Wasserräder erfolgte weiter rein handwerksmässig. Im Jahre 1824 schlug der Franzose Burdin als erster ein radiales Wasserrad mit einem Leitapparat vor, und der Name „Turbine“ tauchte damals für diese hydraulische Maschine zum ersten Mal auf.
Während jedoch Burdin mit seiner Konstruktion noch keine besondere Anerkennung fand, gelang es einem seiner Schüler, dem französischen Ingenieur Foumeyron, im Jahre 1827 eine Lösung des Problems zu finden, für die er 1833 den von der französischen Akademie der Wissenschaften ausgesetzten Preis von 6000 Fr. zuerkannt erhielt. Die Fourneyron- Turbine (Bild 7)
war eine reine Radialturbine mit zentrifugaler Wasserströmung und kann als die erste rationelle Turbine bezeichnet werden. Obwohl sie in der Folge mit sehr guten Ergebnissen für die verschiedensten Konstruktionsdaten zur Ausführung kam, gelang es ihr doch während langer Zeit nicht, das Wasserrad, das inzwischen auch wesentlich ver¬bessert worden war, zu verdrängen.
Als weitere Stufe in der Entwicklung der Wasserturbine kann die im Jahre 1837 von Henschel & Sohn in Cassel vorgeschlagene, und später unter dem Namen Henschel-Jonval- Turbine (von Jonval verbessert) bekanntgewordene Wasserkraftmaschine mit rein axialem Durchfluss bezeichnet werden (Bild 8)
Es folgten dann später, etwa um 1850, weitere Konstruktionen des französischen Ingenieurs Girard  (Bild 9)
und der Amerikaner Howd und Swain, die von Francis in seinem klassischen Werk beschrieben worden sind. Die schweizeri¬schen Maschinenfabriken begannen sich nun für die neue hydraulische Maschine zu interessieren, und damit setzte die Mitarbeit der Schweiz an der konstruktiven Entwicklung der Wasserräder und Turbinen ein. Es sei jedoch vorweggenommen, dass die Forschung und Entwicklung der hydraulischen Maschinen in der Schweiz fast ausnahmslos nicht das Werk Einzelner war und ist, sondern dass die erzielten Fortschritte zum weitaus grössten Teil auf harmonische Zusammenarbeit zurückzuführen sind. Das bereits erwähnte Wasserrad von Poncelet wurde in seiner guten Wirkungsweise durch das Zuppinger-Wasserrad  (W. Zuppinger, ehemaliger Direktor der Mühlenbauabteilung der Firma Escher Wyss in Zürich. Siehe den Nachruf in SBZ Bd. 89. S. 162)  (Bild 10)
nicht nur erreicht, sondern z. T. übertroffen. Da jedoch die Wasserräder in ihrer Leistungsfähigkeit begrenzt waren, und sich immer mehr das Bedürfnis nach grösseren Leistungen einstellte, so wurde die Entwicklung der Jonval- und der Girard-Turbine gefördert und es gelang, ihre Leistungsfähigkeit ganz wesentlich zu vergrössern (Mehrkranz-Turbinen usw.) (Bild 11)
Einen weiteren wesentlichen Fortschritt brachte dann allerdings erst die bereits erwähnte Turbine von Howd (reine Radialturbine), mit der nach dem Vorschlag von Swain, später durch meridionale Umlenkung im Laufrad, bei gleicher Leistung eine wesentliche Steigerung der Drehzahl ermöglicht wurde. Diese Konstruktion ist im Jahre 1865 von J. Francis zum ersten Mal systematisch experimentell untersucht worden und die Veröffentlichung der Ergebnisse, verbunden mit Verbesserungsvorschlägen, hat bewirkt, dass die Turbine später als Francis-Turbine bezeichnet wurde. (Bild 12)
Es ist hier ähnlich gegangen, wie bei der Entdeckung von Amerika durch Christoph Columbus. Das entdeckte Land wurde auch nicht nach ihm bezeichnet (mit Ausnahme des Staates Columbien), sondern nach dem genuesischen Forscher Amerigo Vespucci, der es später bereiste und beschrieb.
Sowohl die Fourneyron- als auch die Jonval-, die Girard- und die Francis-Turbine wiesen einen dem Laufrad vorgeschalteten Leitapparat mit festen Schaufeln auf. Da nun die Wasserführung der ausgenützten Gewässer und auch der Leistungsbedarf mit der Zeit veränderlich ist, so muss die dem Laufrad zufliessende Wassermenge den jeweiligen Verhältnissen angepasst werden. Die Berechnung des Leit- und Laufrades erfolgt für die grösste zur Ausnützung kommende Wassermenge, und bei festen Leitschaufeln konnte eine Regulierung der Wassermenge nur unter grossem Wirungsgradverlust durchgeführt werden. Eine grundlegende Verbesserung der Regulierung der Wasserturbine brachte im Jahre 1877 der Vorschlag von Prof. Fink der drehbaren Leitschaufel, die heute noch bei allen Ueberdruck-Turbinen die beste Regulierung ist . (Bild13)
Das Bedürfnis nach der Ausnützung von höheren Gefällen bei kleinen Wassermengen führte in der Mitte des 19. Jahrhunderts zur Konstruktion des Tangentialrades, (Bild 14)
 bei dem das Betriebswasser das Laufrad in zentripetaler Rich¬tung durchfloss. Eine bessere Konstruktion, die heute auch bei den höchsten Gefällen und grössten Leistungen verwendet wird, stellt die im Jahre 1880 vom amerikanischen Ingenieur J. Pelton vorgeschlagene und nach ihm benannte Turbine mit axialem Durchfluss durch die Laufschaufeln dar. (Bild 15)
Diese Turbine wird heute oft als Freistrahlturbine bezeichnet, da bei ihr ein freier Wasserstrahl auf die Schaufeln des Lauf¬rades auftrifft. Da der Druck beim Ein- und Austritt aus den Laufradschaufeln der gleiche ist, so wird diese Turbine «Gleichdruck-Turbine- genannt. Zur Regulierung dienten frü¬her Zungeneinläufe, aber aus den gleichen Gründen wie bei der Ueberdruck-Turbine suchte man nach einer besseren Lösung und fand sie auch im Jahre 1905 in der Form der Nadeldüsen-Regulierung*. mit der heute ausnahmslos alle Freistrahl-Turbinen ausgeführt werden. Die Zentrifugal-Tur¬bine von Fourneyron, sowie die Axialturbinen von Jonval und Girard und auch der grösste Teil der Wasserräder waren zu Anfang dieses Jahrhunderts durch die Zentripetal-Turbine von Francis mit der Umlenkung nach Swain sowie durch die Peltonturbine verdrängt worden.
Da an der Ausstellung in Frankfurt a. M. 1891 experimentell nachgewiesen worden war, dass es auf rationelle und sichere Weise möglich ist. grosse Leistungen auf elektrischem Wege auf grosse Entfernungen zu übertragen, so war nun die Erzeugung von Energie nicht mehr an ihre Verbrauchsstelle gebunden und damit wurde dem Ausbau der Wasserkräfte ein weites Feld eröffnet. Es handelte sich nun in erster Linie darum, die hydraulische Energie in wirtschaftlichster Art in elektrische Energie umzuwandeln und diese dann an die Verbrauchsstelle zu übertragen. Für den Konstrukteur der Wasserturbinen ergaben sich viele neue Probleme, und zwar sowohl hinsichtlich Steigerung der Leistung und der Drehzahl als auch hinsichtlich Verbesserung ihrer Regulierfähigkeit. Durch die Weiterentwicklung der Francisturbine gelang es, den Bedürfnissen weitgehend zu entsprechen, und es ergaben sich dann in der Folge eine grosse Zahl von verschiedenen «Francisturbinen , so dass eine Klassifikation notwendig wurde. Hierzu führte man den Begriff der «spezifischen Drehzahl» ein. Man versteht darunter die Drehzahl einer Turbine, die bei einem Meter Gefälle 1 PS leistet. Während die spezifische Drehzahl der ersten Francisturbinen nur 60 bis 70 betrug, gelang es im Laufe der Jahre, diese Zahl auf 300 bis 320 zu steigern. Ich erinnere mich, dass im Jahre 1912 und 1913 pseudowissenschaftliche Abhandlungen erschienen, in denen versucht wurde, zu beweisen, dass es aus physikalischen Gründen nicht möglich sei, eine höhere spezifische Drehzahl als maximal 350 zu er-reichen. Diese Behauptungen wurden später durch zahlreiche Ausführungen widerlegt. Da in der Folge auch eine spezifische Drehzahl von 300 bis 320 nicht genügte, um die gewünschte Schnelläufigkeit bei gegebenem Gefälle und vorgeschriebener Leistung zu erreichen, war man gezwungen, die Leistung auf mehrere Laufräder zu verteilen, und so entstand die Mehrfach-Turbine, die mit vertikaler und horizontaler Welle sehr oft zur Ausführung gelangte, die aber nicht als eine befriedigende Lösung der Aufgabe betrachtet werden durfte. (Bild 16)
 
Nach der damaligen Vorstellung über die Arbeitsweise des Wassers in der Turbine wäre es sehr schädlich gewesen, wenn man den Schaufelspalt zwischen dem Austritt des Wassers aus dem Leitapparat und dem Eintritt in das Laufrad gross gemacht hätte. Diese irrtümliche Vorstellung verhinderte zu jener Zeit eine weitere Steigerung der spezifischen Drehzahl, bis es dem Berichterstatter im Jahre 1914 gelang, den experimentellen Beweis zu erbringen, dass durch eine wesentliche Vergrösserung des Schaufelspaltes und eine Verkürzung der Schaufellängen im Laufrad eine Steigerung der spezifischen Drehzahl auf 500 bei guten Wirkungsgraden möglich war. Die horizontalachsige Mehrfach-Turbine konnte dann durch die vertikalachsige Einfach-Turbine ersetzt werden. (Bild 17)
Infolge der festen Laufradschaufeln waren auch bei der neuen Konstruktion die Wirkungsgrade bei Teilbelastungen unbefriedigend. Einen entscheidenden Fortschritt bezüglich spezifischer Drehzahl als auch guten Wirkungsgraden brachte erst die im Jahre 1916 von Prof. Kaplan in Brünn vorgeschlagene Wasserturbine mit zentripetalem Zufluss zum Leitapparat und axialem Durchfluss durch das Laufrad, mit drehbaren Laufradschaufeln und ohne Aussenkranz. Diese Turbine gestattete die Erreichung einer spezifischen Drehzahl bis 900 bei guten Wirkungsgraden und dies auch bei Teilbelastungen. (Bild 18)
 Im Jahre 1919 wurde die Fabrikation der Kaplanturbine in der Schweiz und in Deutschland aufgenommen und heute wird sie von den meisten Wasserturbinenfabriken getätigt.    

(Schluss folgt)
 
 
kostenloser Unofficial WsX5 Counter!
Suchen
Zurück zum Seiteninhalt | Zurück zum Hauptmenü